sidurikomplekt tugevdatud kiigega Puch Z50 jaoks

I lager
Produktkod
RP43849
SWIING
Special Price 1 385,18 kr‎ Regular Price 2 306,53 kr‎
Saadame välja: 13.11.2025 ja 18.11.2025 vahemikus
Kuumakse alates 43.70€, valides makseviisiks ESTO järelmaks.
Täielik tugevdatud sidurikomplekt Puch Z50 mootoritele manuaalkäigukastiga, nagu paigaldatud mudelitesse Puch X30 Sport NS / NL ja Puch X30 Velux.

Komplekt sisaldab kõrgekvaliteedilist siduri tõmbepolti, millel on spetsiaalselt valmistatud nurkkuullaager. Sellel on 60° kontaktinurk ja see on mõeldud suurimate koormuste jaoks. Tõmbepolt on hädavajalik tugevdatud sidurivedrude kasutamiseks.

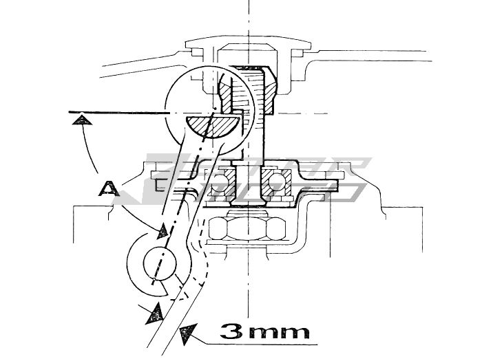
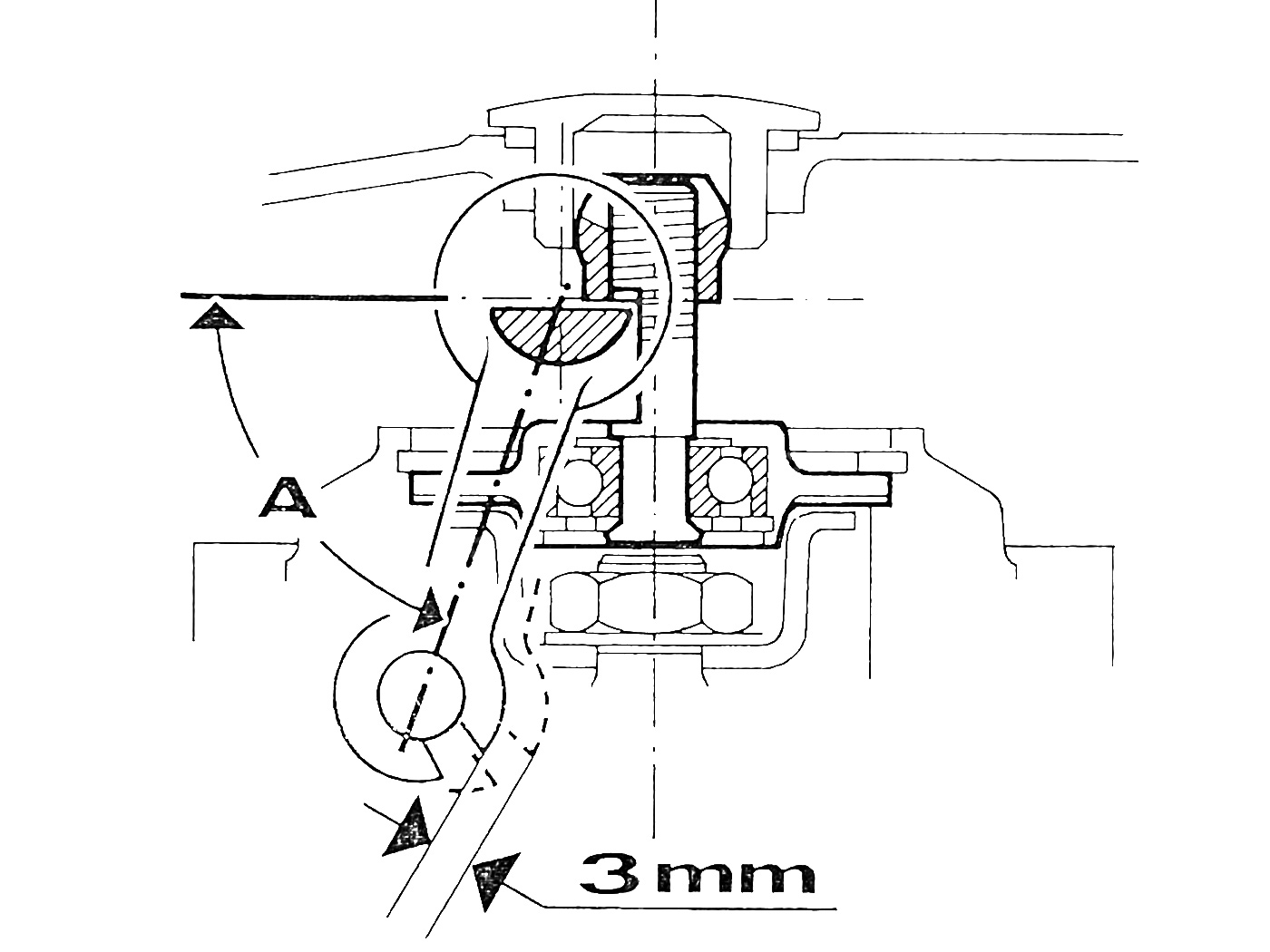
Olulised märkused siduri reguleerimise kohta:

Pilt 3 näitab siduri hoova asendit seoses toega. See seadistus tagab maksimaalse vabastusliikumise vähima pingutusega siduri tõmbamiseks. Erilist tähelepanu tuleks pöörata mängule sidurivõlli ja koonilise mutri vahel, kuna kui mäng on liiga väike, puruneb sidurilaager paratamatult väga lühikese aja jooksul. Kui siduritross on kinnitatud, peaks siduri hoova vaba liikumine olema umbes 3 mm.

Pildil olev nurk "A" on 58°. Käehooval põhjustab see mäng umbes 1 cm vaba liikumist.
Mer information
Vikt0.210000
Streckkod EAN134057237640284
Höjd0
Bredd0
TillverkareSWIING
Längd0
TillgänglighetKesklaos
Leverantörsreferens43849
UtloppNej
Leveranstid4-7 tööpäeva
KampanjerHinnagarantii
0
Rating:
0% of 100
Write Your Own Review
Du recenserar:sidurikomplekt tugevdatud kiigega Puch Z50 jaoks
Vi hittade andra produkter du kanske gillar!